雕銑機刀庫的工作過程

雕銑機刀庫
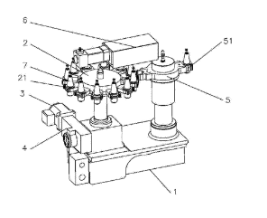
刀庫雕銑機換刀裝置的部件包括了底座、旋轉刀架、電機、減速機構和換刀臂。換刀臂和減速機構固定在底座上,點擊通過減速機構驅動旋轉刀架旋轉,旋轉刀架邊緣設有若干用于夾持刀桿的開環,開環的開口向外,換刀臂的兩端各安裝有一個抓手,換刀臂正對旋轉刀架的中心,抓手開口向外,抓手與距其最近的開環接觸且兩者開口相對,還包括水平設置在旋轉刀架上方的氣缸,氣缸伸出端將刀具從開環推入抓手:旋轉刀架邊緣的開環與換刀臂的抓手開口相對,開環與抓手組成一個閉環,設置在旋轉刀架上方的氣缸將開環內的刀具推入抓手,結構簡單,定位精度高,操作起來也方便。
依速力刀庫雕銑機銷售熱線:400-070-0668
下一篇:石墨雕銑機加工注意事項上一篇:電子凸輪加工選用數控雕銑機好不好
此文關鍵字:雕銑機。雕銑機刀庫
同類文章排行
- 石墨雕銑機有哪些類型的導軌
- 國產雕銑機品牌,雕銑機品牌匯總
- 廣東這邊雕銑機哪個牌子好
- 塑料模雕銑機選用廠家推薦
- 雕銑機哪個品牌最好,雕銑機品牌推薦
- cnc雕銑機可加工哪些材料
- 模具雕銑機哪家質量更好
- 雕銑數控加工中心機是什么類型的機械設備
- cnc模具雕銑機使用重要注意事項-中山市依速力機械
- 銅工高光雕銑機是一款高效率的加工機床
最新資訊文章
您的瀏覽歷史









